添加線路產品總共分3部:
一、線路配置
二、添加線路基礎信息
三、添加線路產品報價
一、線路配置
1.后臺安裝好線路應用后,主頁就有這個線路板塊:

2.點擊線路--進入 --配置

配置板塊 1 :開啟發票


(2)、開啟線路目的地顯示。目的地調用全局目的地,開啟首頁顯示,則該目的地下的線路產品顯示在首頁顯示

(3)、配置屬性,里面有屬性分類、價格屬性、天數屬性、顯示分類數量。
設置屬性:用于列表頁篩選,游客可以通過屬性快速篩選到這個屬性下的線路。


(4)、添加內容分類:


(5)、擴展字段,添加擴展字段不會在前臺展示,如需前臺顯示,需要開發調用。

(6)、設置低價規則,前臺顯示的價格就會優先顯示這個價格,
低價規則:只有線路產品有該規則(詳情請:http://www.ywiv.cn/help/show/510.html)

(7)、附加選項:

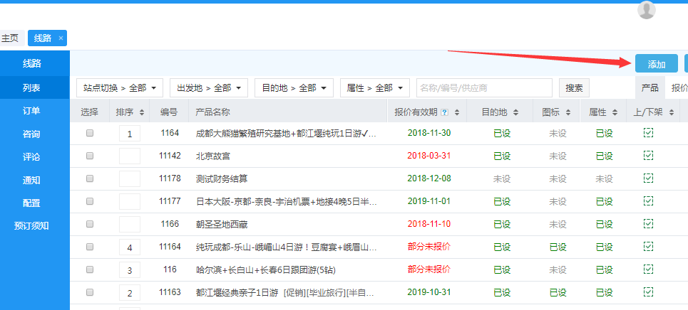
以上配置完成后,就可以進行第二步:添加線路產品了。刷新頁面,重新進入線路列表
1、添加線路產品:點擊右上角的添加按鈕:

(2)選擇站點:(默認選擇主站,如確定有子站業務需求再選擇相應子站)

(2)填寫基礎信息(標題、賣點、天數、提前天數)以上是否上架

(3)出發地:在公共設置_出發地中進行設置(出發地設置教程請點擊:http://www.ywiv.cn/help/show/328.html)

(4)選擇供應商 (一般默認不選擇供應商。通常產品都是平臺自己添加的。如在第三方供應商有合作提供的產品,再去設置并給產品選擇供應商)

目的地選擇

1.3 線路屬性選擇

線路屬性詳細教程請參考:http://www.ywiv.cn/help/show/325.html

(6)線路信息添加完成后,點擊保存,則可以在列表中看到該產品

三、信息添加完成保存后,就可以添加產品報價了
在線路列表頁:右上角點擊報價按鈕,添加套餐

A、有三種方式報價:按照日期、按照星期、按照號數
B、在已報價日期中,將報價改為0,可清空報價
C、報價成功后,點擊查看報價,可點擊日期,報價進行修改
D、單房差:只有線路產品有該項填寫(不填寫,產品詳情頁中則不顯示)
E、庫存:若修改了庫存,則會顯示當前最新填寫的庫存(以前的庫存不會刪除)


最后點擊保存即可!
報價詳細介紹請參考教程:http://www.ywiv.cn/help/show/820.html
備注:其他產品添加均與線路一致
小米
會員評論